ISSN 1003-8035 CN 11-2852/P

    一种基于多源数据融合的滑坡地形深度学习识别模型研究

    A deep learning recognition model for landslide terrain based on multi-source data fusion

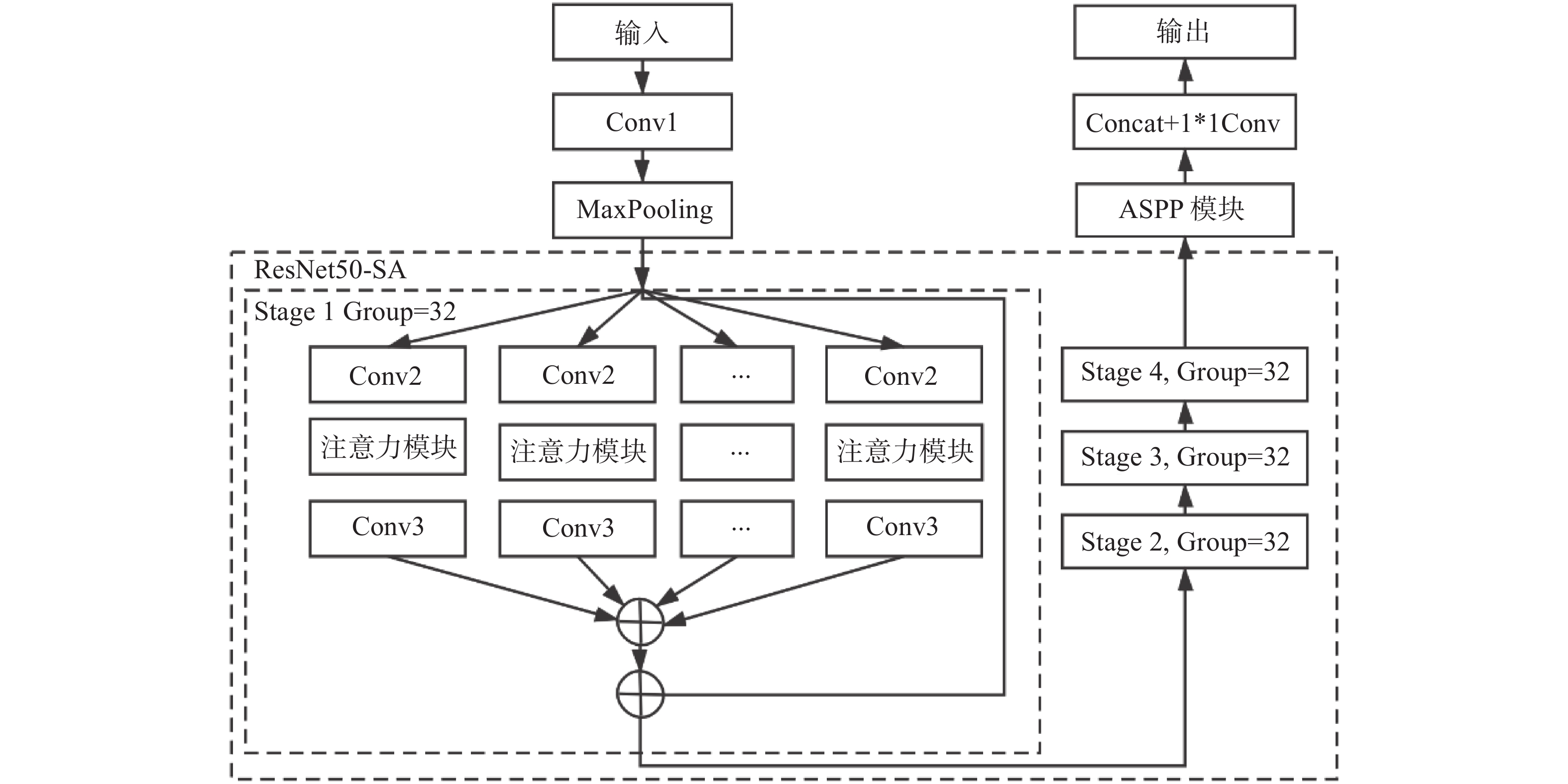
    • 摘要: 传统高位远程滑坡识别依赖地质专家人工判别,识别效率较低。研究实现一种基于深度学习的滑坡地形自动识别模型,以提高大范围区域潜在滑坡隐患点筛查工作的效率。该模型以目标区域的遥感图像、DEM数据、地质分区、河流水系等地质观测数据为输入,针对不同类型观测数据差异巨大的问题,设计构建特征分支网络,精确提取对应的滑坡特征。对光学影像数据采用深层网络架构提取复杂特征,对海拔、地质构成、河流和断裂带分布等结构化数据采用浅层网络架构提取特征。随后设计特征融合模块,融合两个网络的提取结果获得全面的滑坡灾害特征。模型基于提取的滑坡特征进行滑坡区域语义分割,实现精准的像素级别滑坡地形分类和定位。通过实验验证,该模型对滑坡区域的识别准确率(ACC)达到了0.85,可为滑坡自动识别提供技术支撑。

       

      Abstract: The traditional high-level remote landslide recognition efficiency which relies on the artificial discrimination of geological experts is low. In this paper, an automatic landslide terrain recognition model based on deep learning is developed to improve the efficiency of the screening of potential landslide hazard in a large area. The model takes remote sensing images, DEM data, geological zones, river system and other geological observation data of the target area as input. For the huge difference of different types of observation data, a feature branch network is designed and constructed to accurately extract the corresponding landslide features: Among them, deep network architecture is used to extract complex features from optical image data, and shallow network architecture is used to extract features from structured data such as altitude, geological composition, river and fault zone distribution. Subsequently, a feature fusion module was designed to fuse the extraction results of the two networks to obtain a comprehensive landslide hazard feature. The model performs semantic segmentation of the landslide area based on the extracted landslide features, and achieves accurate pixel-level landslide terrain classification and positioning. The experimental results show that the recognition accuracy(ACC) of the model reaches 0.85, which can provide technical support for automatic landslide identification.

       

    /

    返回文章
    返回